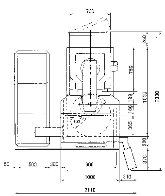
正面図と平面図     GSR−700